1. Overview
Blind vias and buried vias are mainly used for high-density boards and for boards with very small holes. The goal is to save routing space and so make the PCB smaller. A common example is mobile phone PCBs.
2. Classification
A) Laser drilling
1. Reasons to use laser drilling
a. The customer asks for laser drilling.
b. Blind vias can be very small (<= 6 MIL), so only a laser can drill them reliably.
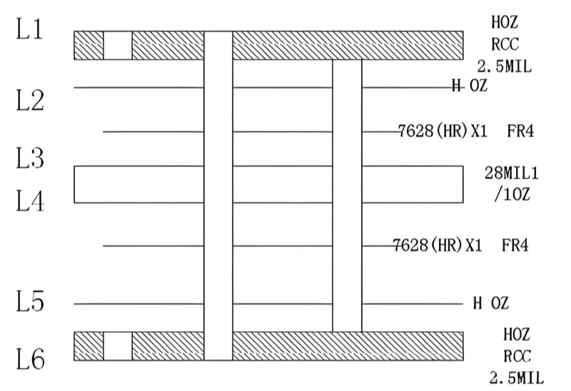
c. For special blind and buried via stacks — for example, if there is a blind via from L1 to L2 and a buried via from L2 to L3 — laser drilling is required.
2. Principle of laser drilling
Laser drilling uses the heat from the laser to vaporize or melt the board material and make a hole. For this to work, the board material must absorb the laser energy. For that reason, RCC-type materials are commonly used because they do not contain glass fiber cloth and so do not reflect the laser.
3. Short introduction to RCC material
RCC means Resin Coated Copper. It is copper foil that has a layer of special resin on the rough side of the electrolytic copper foil.
At our company we have three suppliers for RCC: Shengyi, Mitsui, and LG.
Material options: resin thickness 50, 65, 70, 75, 80 µm, copper foil thickness 12, 18 µm, etc.
RCC comes in high Tg and low Tg grades. Its dielectric constant is usually lower than standard FR-4. For example, Shengyi’s S6018 has a dielectric constant of 3.8, so take care when you need impedance control.
For details about specific materials, please ask the PE (product engineering) or RD (research & development) team.
4. Tooling and tooling requirements for laser drilling
A) It is hard for the laser to burn through copper. So before laser drilling, etch a copper clearance at the blind-via positions. The clearance should match the finished hole size.
B) Positioning marks for laser drilling are added on the L2 / L(N-1) layer. Mark this on the MI film change page.
C) The film for etching blind-via spots must be produced by LDI. Cut panels and tooling must use the LDI panel size.
5. Production flow features
A) When the total number of board layers is N, make the L2–L(N-1) layers first following the normal inner-layer process.
B) After lamination and after routing the board outline, change the flow as follows:
→ drill LDI registration holes → dry film → etch blind-via spots → laser drill → drill through holes → electroless copper → (normal process).
6. Other notes
A) RCC materials are not UL certified in many cases. So do not add a UL mark to these boards for now.
B) About panel layout and MI: to avoid treating layouts that include RCC as fake-layer panels (the MI film shop makes fake-layer films differently from normal films), separate RCC from L2 or L(N-1) when drawing the panel structure. For example, see SR2711/01 panel layout.
C) IPC-6016 is the HDI board standard:
- Laser blind-via wall copper thickness: 0.4 mil (min).
- Solder fillet requirement: tangency is allowed.
- If pad size is no more than 5 mil larger than hole diameter, consider adding a teardrop.
D) Keep board edge ≥ 0.8”.

B) Mechanical drilling for blind/buried vias
1. Scope of application
When the drill bit size is ≥ 0.20 mm, consider mechanical drilling.
2. Plating method for blind/buried vias (see RD notice TSFMRD-113)
A) Normally, any layer’s circuit copper surface may have only one panel plating step plus one pattern plating step.
B) Normally, after the full lamination process finishes and the board thickness is ≥ 80 MIL, through holes require panel plating + pattern plating. Therefore, when plating blind vias, the outer layer surface must not be panel plated.
C) If the two items above are met, blind-via plating is done as follows:
I) If outer-layer trace width > 6 MIL and the through-hole board thickness < 80 MIL, then during blind-via plating the outer-layer panel surface may be panel plated.
II) If outer-layer trace width > 6 MIL but through-hole board thickness > 80 MIL, then during blind-via plating the outer-layer surface needs film protection.
III) If outer-layer trace width < 6 MIL and through-hole board thickness ≥ 80 MIL, then during blind-via plating the outer-layer surface needs film protection.
3. Film (solder mask / dry film) methods
- When blind-via aspect ratio L/D ≤ 0.8, apply dry film on the outer-layer surface and expose the whole panel. Then inner-layer blind-via surfaces are electroless plated as a whole panel.
- When blind-via aspect ratio L/D > 0.8, apply dry film on the outer-layer surface and expose only the blind-via spots. For this you must make a plating exposure spot film or use LDI exposure. Then inner-layer blind-via surfaces are electroless plated as a whole panel.
4. Methods for exposing blind-via spots
- For blind vias ≤ 0.4 mm (16 MIL), use LDI to expose the blind-via spots.
- For blind vias > 0.4 mm (16 MIL), use film to expose the blind-via spots.
5. Film methods for buried vias
- When the buried-via side trace width ≤ 4 MIL, the buried-via surface needs film to expose the spots.
- When the buried-via side trace width > 4 MIL, the buried-via surface may be panel plated directly.
6. Notes and points to remember
- For the L/D aspect ratio: L = dielectric thickness + copper thickness, D = blind/buried via diameter.
- For blind/buried via plating films: exposure spot diameter D_spot = D – 6 (MIL).
- Add alignment marks to the exposure spot film. Their coordinates must match the outer reference holes.
- Blind vias that need film protection are generally plated with pulse current (AC) during electroplating.
3. Special requirements and process notes for blind-via boards
- Resin-filled blind vias:
When buried-via sizes are large and there are many holes, pressing the board may need a lot of resin to fill the vias. To avoid this affecting final board thickness, R&D may request pre-filling the buried vias with resin before lamination. The filling method can follow the green solder mask via-fill method. - When outer layer has blind vias:
a. During pressing the outer layer can leak resin. So after lamination add a resin removal (de-gumming) step.
b. Before outer-layer dry film the board surface is cleaned and there is a board polishing step. Chemical copper (electroless copper) is very thin (only 0.05–0.1 mil), so it may be worn away during polishing. To avoid this, add a panel plating step to thicken the copper. Typical flow: lamination → resin removal → drilling → electroless copper → panel plating → dry film → pattern plating. - High-layer-count blind-via boards and PIN-LAM:
When making boards with many layers and blind vias, PIN-LAM lamination may be used. Note that our machines can only drill PIN-LAM holes when the core thickness is less than 30 MIL. For many cases we still use normal lamination; for example PR4726010 is made with normal lamination. - Board edge:
Because there may be multiple laminations and many process holes, leave the board edge ≥ 0.8”. - LOT card and panel notes:
When writing the LOT card, for sub-processes you must write the panel structure for the single sub-process and also write the main process panel structure in the special requirements. This helps later operations. - Where to put the blind-via dry film (inner or outer layer):
Give examples: if the A thickness of the core is greater than 12 MIL (excluding copper thickness), then place the dry film on the outer layer. If the A thickness of the core is less than 12 MIL (excluding copper thickness), then place the dry film on the inner layer.
4. Quick reminders and checked values
- Keep board edge ≥ 0.8”.
- Laser blind-via wall copper ≥ 0.4 mil.
- For pad vs hole size difference ≤ 5 mil, suggest teardrops.
- Use RCC for laser drilling because RCC absorbs laser.
- For blind/buried via plating, check outer-layer trace width and overall board thickness to decide whether to panel-plate or to protect with film.
- L/D = (dielectric + copper) / hole diameter. Use this to choose exposure and film methods.




